Kettenräder System Bea für Rollenketten DIN 8187
- Kategorien >
- Kettenräder >
- Kettenräder System Bea fertig gebohrt DIN 8187 >
- 1″ x 17,02 mm - ISO 16B-1
1″ x 17,02 mm
25,4 x 17,02 mm
Rollen Ø 15,88 mm
16B-1
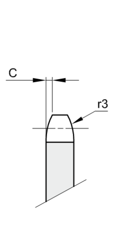
| B1 mm |
C mm |
r3 |
| 16,2 | 2.5 | 26 |
1″ x 17,02 mm - ISO 16B-1
Zähne gefräst und induktiv gehärtet.
Einbaufertig, für diverse Wellendurchmesser.
Nut nach DIN 6885/1 auf Zahnspitze ausgerichtet,
2 Stellschraubengewinde: auf Nut ausgerichtet und einmal 90° versetzt.